Тяжелый истребитель-перехватчик Пе-5

91 сообщение в этой теме

Опубликовано:

Взято из описания Миг-13.

Это предполагаемая теоритическая мощность, в РИ вышла другая.

Я о том и пишу - ВК-107 совместно с ВРДК в теории могли дать максимум 2800 л.с. , по факту выдав ~2560 л.с. У Вас же применён менее мощный ВК-105ПФ , соответственно и максимальная мощность установки никак не может быть свыше 2000~2100 л.с.

c65a34dade7f.jpg

На фотографии отсутствует центральное тело ( обтекатель ) , с ним габариты будут совсем иными .

Мотогандола в разрезе с проекцией компрессора и воздуховодов.

31d1dd537d10.jpg

Нереально . Вы и сами это уже поняли .

72e441fe6d18.jpg

вот так получается

Тоже - не фонтан , но путь уже верный .

В данном случае не работает половина компрессора вообще и большое сопротивление на входе .

Для лучшего представления , что такое этот компрессор и как он вписывается в поток , сделал 3D набросок :

post-9045-0-43093000-1397671495.jpg

post-9045-0-34893300-1397671498.jpg

post-9045-0-85100000-1397671501.jpg

post-9045-0-72447800-1397671504.jpg

post-9045-0-47035400-1397671505.jpg

Отталкивался от :

post-9045-0-16942000-1397671547.jpg

post-9045-0-05807200-1397671549.jpg

post-9045-0-87643600-1397671550.gif

Поделиться сообщением


Ссылка на сообщение
Поделиться на других сайтах

Опубликовано:

Отталкнулся - Более точная доработка.

В каналы введены дефлекторы распределяюшие более равномерно воздушный поток.

e3c1d3bf3960.jpg

Стойка получилась вот такой.

36b162918453.jpg

Поделиться сообщением


Ссылка на сообщение
Поделиться на других сайтах

Опубликовано:

Отталкнулся - Более точная доработка.

В каналы введены дефлекторы распределяюшие более равномерно воздушный поток.

А что если - поднять немного сам ВРД ? В Топку сделать такой же конфигурации , как и на И-250 ( МиГ-13 ) , но зеркальную - с поворотом вниз , а не вверх ?

Это спрямит каналы воздухозаборника ( в такой конфигурации всё таки очень большой сопротивление на входе и соответственно - суммарное аэродинамическое и компрессор неравномерно нагружен , что может привести к вибрации ) и упростит компоновку шасси .

Если внимательно посмотреть на мою схемку , где обтекатель выполнен полупрозрачным , то видно - вал может входить не только строго по оси центрального тела . Его положением можно "играться" в пределах +/- радиус, внутри головного обтекателя вполне хватит места что бы поставить редуктор "гитару" .

Попробую вписать , вот - специально отрендерил в Ч/Б контуром :

post-9045-0-14772200-1397677256.png

Внизу масштабная линейка ( метр , разбита на 50 , 25 , 10 и 5 сантиметров ) .

Поделиться сообщением


Ссылка на сообщение
Поделиться на других сайтах

Опубликовано:

Вот , примерно такой выходит ВРДК ( без ВК-105 ) :

post-9045-0-05375200-1398073419.jpg

Внешний вид .

post-9045-0-14351300-1398073841.jpg

"Рентген" .

post-9045-0-42402200-1398073418.png

Чертеж с масштабной линейкой .

Поделиться сообщением


Ссылка на сообщение
Поделиться на других сайтах

Опубликовано:

Отталкивался от :
Не подскажете - откуда чертёжик брали?

Поделиться сообщением


Ссылка на сообщение
Поделиться на других сайтах

Опубликовано:

Не подскажете - откуда чертёжик брали?

Авиация и время №3 за 2001 , статья "Первый реактивный МиГ" .

Поделиться сообщением


Ссылка на сообщение
Поделиться на других сайтах

Опубликовано:

Откровенно говоря - по любому изменений до кучи.

А потому мне кажется наилучшим будет вариант когда дополнительный мотор в физюль - и от него привод компрессора. Да и нагнетатели для двух других пусть крутит....

Поделиться сообщением


Ссылка на сообщение
Поделиться на других сайтах

Опубликовано:

А потому мне кажется наилучшим будет вариант когда дополнительный мотор в физюль - и от него привод компрессора. Да и нагнетатели для двух других пусть крутит....

Мне тоже кажется , что воткнуть ВРДК в фюз будет проще . ЖРД же ставили .

Поделиться сообщением


Ссылка на сообщение
Поделиться на других сайтах

Опубликовано:

Мне тоже кажется , что воткнуть ВРДК в фюз будет проще . ЖРД же ставили

Да и по любому - прорисовки показывают что в гондолы закомпоновать не просто - все одно куча изменений - а меняем оперение - и корпус надо пересчитывать....

А в корпусе можно и мотор без отвода сзади пристроить.... и даже гермокабину от компрессора запитать...

Поделиться сообщением


Ссылка на сообщение
Поделиться на других сайтах

Опубликовано:

С другой стороны - один ВРДК не даст серьёзной прибавки к скорости , да и куда утилизировать всю мощность "центрального" ВК-105ПФ ? В дополнительные ступени компрессора ?

Поделиться сообщением


Ссылка на сообщение
Поделиться на других сайтах

Опубликовано:

да и куда утилизировать всю мощность "центрального" ВК-105ПФ

А там не было ничего поменьше-полегче-поскромнее?

Поделиться сообщением


Ссылка на сообщение
Поделиться на других сайтах

Опубликовано: (изменено)

Еще один вариант полной переработки мотогандолы. Коллега Tungsten ваша 3D модель отлично впишется.

24718c777e7e.jpg

Мне тоже кажется , что воткнуть ВРДК в фюз будет проще . ЖРД же ставили

Да и по любому - прорисовки показывают что в гондолы закомпоновать не просто - все одно куча изменений - а меняем оперение - и корпус надо пересчитывать....

А в корпусе можно и мотор без отвода сзади пристроить.... и даже гермокабину от компрессора запитать...

Не можно, на "альтсистории" пытались вписать, без коренной переделки М- 105 в фюзеляж Пе-2 просто не влезет.

Потом для 3-х моторов оставшегося топлива будет слишком мало.

Проше сделать удлинённые выхлопные трубы с радиатором по типу Тандера и установить в конце мотогондол турбокомпрессоры.

Сейчас я проектирую АИ 2-х моторный истребитель с ВДРК по схеме Рама, наподобие Р-38, где форсажные камеры являются продолжением мотогондол.

Изменено пользователем E.tom

Поделиться сообщением


Ссылка на сообщение
Поделиться на других сайтах

Опубликовано:

Еще один вариант полной переработки мотогандолы. Коллега Tungsten ваша 3D модель отлично впишется.

:good: :good: :good:

Поделиться сообщением


Ссылка на сообщение
Поделиться на других сайтах

Опубликовано:

Еще один вариант полной переработки мотогандолы. Коллега Tungsten ваша 3D модель отлично впишется.

24718c777e7e.jpg

Продлить мотогондолу немного назад и капельку "уплотнить" компрессор , радиатор и форсунки - как у меня на чертеже ( разрез дать ? ) .

Зачем ? Что бы спрямить воздуховод до компрессора от воздухозаборника . Очень уж этот несимметричный обдув плохо смотрится ( будут биения компрессора ) .

Поделиться сообщением


Ссылка на сообщение
Поделиться на других сайтах

Опубликовано:

Не можно, на "альтсистории" пытались вписать, без коренной переделки М- 105 в фюзеляж Пе-2 просто не влезет.

Если не затруднит - можно цитатки набросать и схемы , если были ? Чертежи приветствуются ...

Проше сделать удлинённые выхлопные трубы с радиатором по типу Тандера и установить в конце мотогондол турбокомпрессоры.

Где взять надёжный турбокомпрессор ?..

Поделиться сообщением


Ссылка на сообщение
Поделиться на других сайтах

Опубликовано:

Не можно, на "альтсистории" пытались вписать, без коренной переделки М- 105 в фюзеляж Пе-2 просто не влезет.

Фюзеляж - полностью новый. Зато крыло, оперение и мотогондолы - без изменений.

С другой стороны - один ВРДК не даст серьёзной прибавки к скорости , да и куда утилизировать всю мощность "центрального" ВК-105ПФ ? В дополнительные ступени компрессора ?

Просто компрессор - намного мощнее. И в крейсерском полете - работает как импеллер.

А в плюсах - компрессор и камеру сгорания - ставим без всяких выгибонов и переломов .

Поделиться сообщением


Ссылка на сообщение
Поделиться на других сайтах

Опубликовано:

Просто компрессор - намного мощнее. И в крейсерском полете - работает как импеллер.

А в плюсах - компрессор и камеру сгорания - ставим без всяких выгибонов и переломов .

Из минусов - третий потребитель бензина ( но зато один ВРДК вместо двух ) .

Т.е. на крейсерском жрёт бензина больше , а на форсаже - меньше .

А смысл ?

Поделиться сообщением


Ссылка на сообщение
Поделиться на других сайтах

Опубликовано:

Из минусов - третий потребитель бензина ( но зато один ВРДК вместо двух ) . Т.е. на крейсерском жрёт бензина больше , а на форсаже - меньше . А смысл ?

На ВРДК идет вся мощность - 1000 лошадей. А у ентих ежели не ошибаюсь - от силы половина - то бишь реактивная тяга не меньше. Зато на винты - тоже вся мощность двух моторов и еще поддув от центрального = мощность на высоте не теряем.

Да и на крейсерском - три мотора явно работают на меньшей мощности каждый...

В результате - мы исходно барражируем на большей высоте. Мы имеем гермокабину. И в случае надобности - подскок у нас меньше

Ну как то так :)

Поделиться сообщением


Ссылка на сообщение
Поделиться на других сайтах

Опубликовано:

А как Вам такое?

post-9605-0-88507400-1398135167.jpg

Поделиться сообщением


Ссылка на сообщение
Поделиться на других сайтах

Опубликовано:

А как Вам такое?

Галимый реал :) Тут выше я предлагал схему Ер-2 с ВРДК - так вот у него как раз привод компрессоров от турбины . Только радиаторы зря в потоке - не настолько мощный турбонагнетатель , не прокачает . Всё таки привод с вала через планетарку в те годы предпочтительнее .

Но нарисовано добротно .

Поделиться сообщением


Ссылка на сообщение
Поделиться на других сайтах

Опубликовано:

Кстати, от установки агрегата центрального наддува в фюзеляже есть неучтенный бонус. Самолет то у нас будет высотный? Так? А на высоте холодно. В тоже время воздуховоды от фюзеляжного компрессора минимум пару метров в крыле имеют, а заначит поджатый нагретый воздух должен ощутимо охлаждаться попутно. Такой себе халявный интеркулер получается... можно этот нагрев на противообледенительные системы носков крыла пустить, к примеру. А поджатый но охлажденный воздух ласт возможность наполнение цилидров увеличить и мощность крыльевых движков поднять. 100-150лс для М-105 отнюдь не лишни будут...

Поделиться сообщением


Ссылка на сообщение
Поделиться на других сайтах

Опубликовано: (изменено)

Продлить мотогондолу немного назад и капельку "уплотнить" компрессор , радиатор и форсунки - как у меня на чертеже ( разрез дать ? ) .

Зачем ? Что бы спрямить воздуховод до компрессора от воздухозаборника . Очень уж этот несимметричный обдув плохо смотрится ( будут биения компрессора ) .

Согласен, рисунок был накидан побыстрому, обозначил компановку. От чертежей не откажусь.

Изменено пользователем E.tom

Поделиться сообщением


Ссылка на сообщение
Поделиться на других сайтах

Опубликовано:

А как Вам такое?

Это фактически усложненый ТРД, зачем усложнять сущьности.

Поделиться сообщением


Ссылка на сообщение
Поделиться на других сайтах

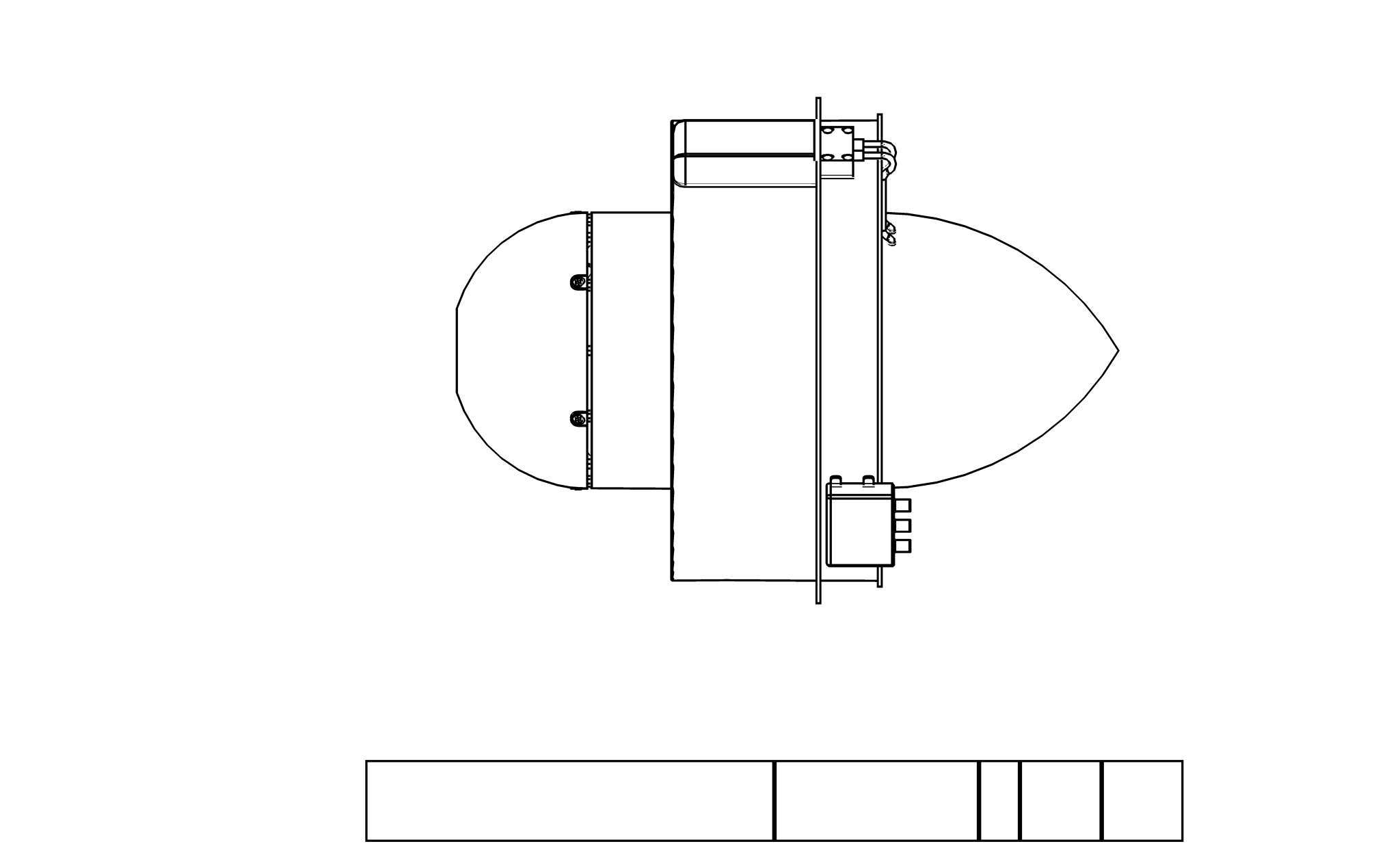
Опубликовано:

Чертёжик с разрезом .

post-9045-0-15401500-1398267853.png

post-9045-0-98742900-1398267855.png

Поделиться сообщением


Ссылка на сообщение
Поделиться на других сайтах

Опубликовано:

Это фактически усложненый ТРД, зачем усложнять сущьности.
Ну, эта... мотокомпрессорная система тоже не упрощение, однако же вы над ней работаете ;)

Поделиться сообщением


Ссылка на сообщение
Поделиться на других сайтах

Создайте учётную запись или войдите для комментирования

Вы должны быть пользователем, чтобы оставить комментарий

Создать учётную запись

Зарегистрируйтесь для создания учётной записи. Это просто!


Зарегистрировать учётную запись

Войти

Уже зарегистрированы? Войдите здесь.


Войти сейчас